介绍
首页
监控中心
地图模式
列表模式
点位图模式
地图模式-便携式
3D组态模式
燃气大屏
云组态模式
矩阵模式
设备管理
网关调试
检测仪台账
设备详情
运维报告
比对报告
证书台账
控制器台账
现场单
数据管理
原始数据
报警数据
轨迹回放
数据曲线
报警统计
处理记录
推送记录
触发器
检测仪触发器
网关触发器
证书触发器
在线组态
点位图配置
3D组态配置
云组态配置
风控管理
风控AI
计量管理
检测数据
数据分析
人员安全
定位配置
区域管理
便携式管理
系统配置
组织架构
设备分组
检测仪品牌
检测仪型号
测量类型
测量单位
操作日志
视频源
报警类别
对外接口
控制器品牌
控制器型号
传感器品牌
传感器型号
公告管理
说明
项目安装
客户添加步骤
组织信息
结束
Published with GitBook
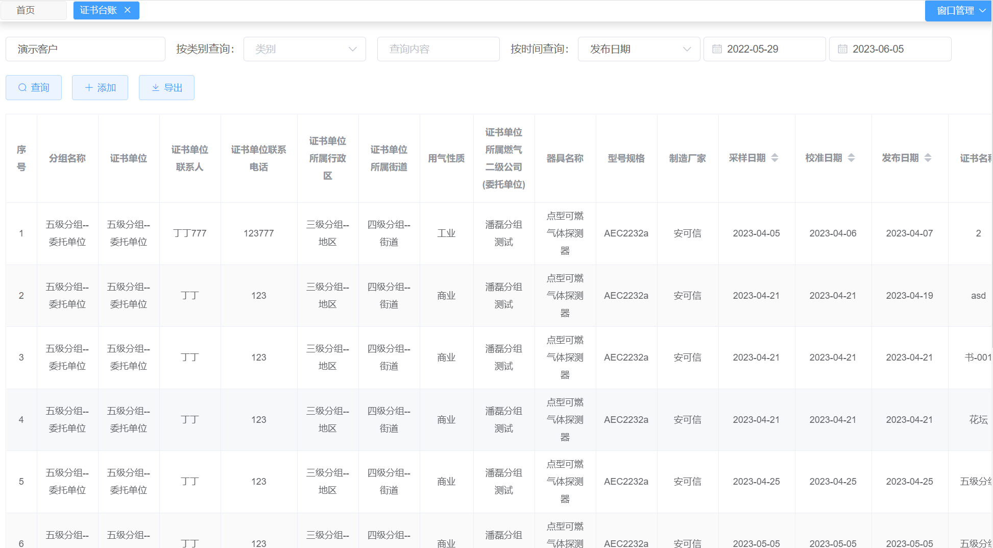
证书台账
证书台帐
分组选择
查看该分组下的证书信息,必选
条件查询
按类别查询
证书单位 证书单位联系人 证书单位联系电话
按时间查询
发布时间(默认) 采样日期 校准日期
导出 将查询到的证书信息列表导出Excel
results matching "
"
No results matching "
"