现场单

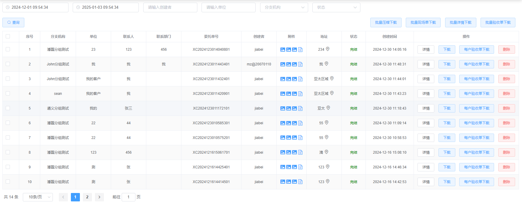
  • 条件查询
    • 按时间段查询

      起始时间 结束时间

    • 按创建者查询
    • 按分支机构查询
  • 批量下载

    可批量下载 每条下载包含附件的3张图片、1张pdf、1个Excel表

  • 批量验收单下载

    可批量下载验收单Excel表

  • 下载

    现场单下载 下载1张pdf

  • 详情

    列表每一行详情信息

  • 下载

    下载1个Excel表

  • 每户验收单下载

    可下载每户验收单详情

  • 删除

    可删除某条数据

Copyright © www.87c6.com 2025 all right reserved,powered by Gitbookrevision: 2025-01-03 10:37:38

results matching ""

    No results matching ""