设备详情

- 组织选择
> 必须选择分组后才可以查看该组织下的设备信息 设备
添加
添加连接协议
点击目录旁边"+"号可添加连接协议

添加网关
点击协议旁边"+"号可添加网关

- 品牌 必选项,下拉选项为该组织在系统配置中配置的所有品牌
- 型号 可选择所选品牌下的某一个型号
- 编号 必填项,根据提示的编号规则填写
- 安装位置 必填项,填写网关安装位置,如2楼201
- 安装日期 必选项
- 经纬度 在地图上关联该网关的地址
- 添加控制器或检测仪
点击网关旁边"+"号可添加控制器或检测仪
- 添加控制器

- 添加检测仪

- 添加传感器

- 查询

可根据控制器/检测仪/传感器查询
- 下载检测仪台账
导出查询列表中的检测仪台账Excel表
- 查询模式
显示该组织下的所有子分组> 选择该子分组下的某一个分组时,右侧列表默认展示该分组下的检测仪信息,可切换为展示网关/控制器/传感器列表- 查询
支持检测仪信息查询
支持网关/控制器/检测仪/传感器查询
支持安装位置、位置、位号查询
支持检测仪类型查询:固定式/便携式
支持检测仪品牌、检测仪型号查询
支持证书状态查询:即将过期/已过期
支持检测仪类型为'固定式'或'便携式'查询
支持检测仪品牌(数据根据组织而来)查询
支持检测仪型号(数据根据组织或品牌而来)查询
支持检测仪状态为'测试'或'不测试'查询
支持检测仪状态为'屏蔽'或'不屏蔽'查询
支持点位类型为'应急点位'或'非应急点位'查询
支持mac地址查询
支持组合条件查询 - 生成二维码
生成筛选后列表中控制器/检测仪的二维码
检测仪二维码分为固定式和便携式 - 下载控制器/检测仪台账
可根据所有查询条件下载控制器/检测仪台账
- 查询
- 列表区

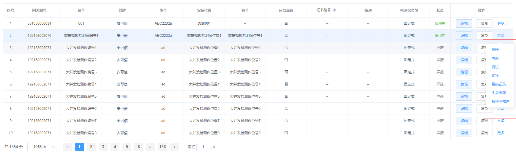
- 编辑
点击编辑按钮可修改该条网关/检测仪/控制器/传感器信息
- 复制
快速生成一条新的网关/检测仪/控制器/传感器
- 同步网关
更新该网关下传感器的缓存数据
- 删除
删除该条网关/检测仪信息
- 调试网关
进入网关调试页面
- 屏蔽网关
停止更新该网关下传感器数据
- 屏蔽检测仪/传感器
停止更新该检测仪/传感器的数据信息
- 测试检测仪/传感器
将该检测仪/传感器切换为测试状态
- 切换检测仪
切换该检测仪关联的网关
- 更换记录
查看该检测仪的更换记录
- 生命周期
查看该检测仪的生命周期报告
- 报警推送
确认该检测仪报警是否推送
- 编辑